|
在桁架(包括网架)和框架等钢结构中,各杆件互相连接的交汇点。 钢桁架的结点构造形式,依照桁架杆件截面形式和结点板或其他连接件的布置,可分为如下5种,如图1所示。 (1)普通型桁架结点。交汇在该结点上的双角钢形截面杆件,可用角焊缝连接在单块结点板上[图1(a)]。 (2)重型桁架结点。形、形或H形等双腹式截面杆件,可用高强度螺栓或铆钉连接在一对结点板上[图1(b)]。对于主要受静力荷载的结构,也可采用焊缝连接。 (3)轻型桁架结点。轻型桁架各杆件之间可以直接连接,也可以通过结点板连接。由圆钢和小角钢组成的桁架杆件,各圆钢杆件在各结点上可互相焊接或直接焊接在单角钢杆件上[图1(c)]。

图1 钢桁架结点类型 (a)普通型桁架结点;(b)重型桁架结点;(c)轻型桁架结点;(d)管结点;(e)球结点
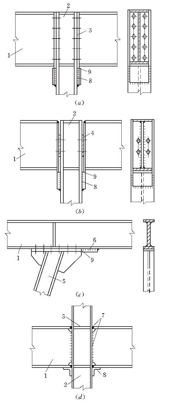
(4) 管结点。在管形截面(圆管或方管)杆件组成的桁架中,圆钢管桁架上、下弦(以下称主管)与腹杆(以下称支管)的连接宜采用直接焊接,不宜采用加结点板或将支管打扁焊接等形式。为保证钢管结点的连接质量和强度,结点处主管连续,支管焊于主管外壁上,并不得将支管穿入主管[图1(d)],这时支管端部应采用自动切管机依照其与主管圆柱面相交的相贯线进行切割。对于冷弯薄壁型钢屋架,杆件采用方管截面时,也通常对支管端部直接切割后焊于主管上,结点构造中当汇交杆件的宽度相差较大(如每边相差20 mm或更多)时,为防止较宽杆件发生局部变形,应在支管端部加设垫板。 (5)球结点。常用作网架结点。圆管形截面的杆件端部,可直接焊接在位于结点中心的空心钢球上[图1(e)]。在实际工程中,为简化安装,避免工地焊接,常采用螺栓将特制的圆台形杆端与具有螺孔的钢球相连接。 设计桁架结点时应注意:①结点对中,各杆件的形心轴线应尽量交汇于结点中心,以免传力偏心。②结点板形状要简单合理,使力线平顺,制造省工。③各杆件与结点板或空心球的连接焊缝或螺栓等应有足够强度,结点板或空心钢球应有足够厚度。 框架结点(梁和柱的连接)可分为能传递弯矩的刚性连接[图2(a)、(c)、(d)]和不传递弯矩的铰接[图2(b)]。按照梁连接在柱上的位置,又可分为侧面连接[图2(a)、(b)、(d)]和柱顶连接[图2(c)]。框架结点的连接方法可采用焊接、高强度螺栓连接或栓焊混合连接。

图2 框架结点类型 (a)柱侧刚性连接;(b)柱侧柔性连接;(c)柱顶刚性连接;(d)焊接的刚性连接1—梁;2—柱;3—加劲肋;4—填板;5—支臂杆;6—抗剪板;7—安装焊缝;8—安装支托;9—磨平顶紧
|